名称:一种温度探测校准装置、一种货车车轮自动降温装置
专利号:202111417949.8、202111360335.0
专利人: 郝存继
技术领域
本发明涉及温度测量技术领域,具体为一种温度探测校准装置、校准方法及服务机器人。
背景技术
在社会生活中,火灾已成为威胁公共安全,危害人民群众生命财产的一种多发性灾害。
近几年,服务机器人在酒店、餐厅、商场等公众聚集场所大量投入使用,每年正以20%-30%的速度增长,服务机器人主要用于接待、咨询、运输、保安等工作,如果在其服务工作中能增加火灾实时预警功能,将对减少火灾事故的发生发挥重要作用。由于服务机器人所服务场所,如酒店、商场等,常常遇见有门厅、中庭等高大空间,空间变化较大,如何利用红外测温技术对周围不同距离物体温度进行准确探测,如何进行准确火灾预警是个难题。
发明内容
本发明的目的在于提供一种温度探测校准装置、校准方法及服务机器人,以解决上述背景技术中提出由于服务机器人所服务场所,如酒店、商场等,常常遇见有门厅、中庭等高大空间,空间变化较大,如何利用红外测温技术对周围不同距离物体温度进行准确探测,如何进行准确火灾预警是个难题问题。
为实现上述目的,本发明提供如下技术方案:
一种温度探测校准装置,包括:
温度探测模块,用于获取目标的红外信号,并根据红外信号确定目标温度;
距离传感器,所述距离传感器用于测量所述温度探测模块与目标之间的距离;
温度校准模块,所述温度校准模块根据所述距离对所述目标温度进行补偿校准;
报警模块,所述报警模块用于在所述目标温度高于预定值时进行报警。
进一步而言,所述温度探测模块包括:红外信号获取单元,所述红外信号获取单元用于获取来自目标的红外信号;红外信号转换单元,所述红外信号转换单元用于对所述红外信号进行转换,获得相应的目标温度。
进一步而言,所述报警模块包括比较单元,所述比较单元用于目标温度和预定值进行比较;报警单元,用于在目标温度高于预定值时进行报警。
进一步而言,还包括主控模块,所述主控模块包括用于显示所述温度校准模块进行补偿校准后的温度数值的显示单元和用于通讯的通讯单元。
一种温度探测校准方法,包括以下步骤:
获取目标的红外信号;
根据所述红外信号确定目标温度;
测量与目标之间的距离;
根据所述距离对所述目标温度进行补偿温度的补偿校准;
对进行补偿校准后的温度和预定值进行比较,在补偿校准后的温度大于预定值时进行报警。
进一步而言,所述温度校准模块进行温度补偿校准的公示如下:
Tc=Tt+A×d+B,其中Tc为所述补偿温度,Tt为所述目标的温度,其中 A和B为系数,以及其中d为所述距离。
进一步而言,其中当d小于或等于10m时,A为0.6°F/cm,并且B为 0.4°F;并且其中当d大于10m时,A为1.8°F/cm,并且B为0.1°F。
进一步而言,所述预定值为200°F。
一种服务机器人,包括:温度探测校准装置,所述温度探测校准装置采用上述的一种温度探测校准方法对目标温度进行补偿校准。
与现有技术相比,本发明的有益效果是:
本发明中的温度探测校准装置能够对一定空间内的任何一个角落进行温度探测,并进行补偿校准,能够在温度超过预定值时进行报警工作,提前进行预警,将火宅消灭在萌芽状态,避免给国家和人民群众的生命财产造成巨大的损失。
技术领域
本发明涉及汽车配件技术领域,更具体地说,涉及一种货车车轮自动降温装置。
背景技术
随着社会的发展,汽车的使用越来越普遍,根据全国火灾统计,我国每年机动车火灾3万辆左右,其中轿车占50%左右,货车占40%左右,货车火灾中,车轮制动过热起火占20%左右。由于货车载货量大,货车刹车片在货车长时间频繁的制动情况下与制动鼓之间的摩擦会产生较高的热量,如不及时降温,会引起车轮起火,严重影响了货车的安全,因此需要对货车车轮刹车片进行降温。
现有的对刹车片降温多采用继电器控制喷洒水或者司机手动喷洒水进行降温,手动降温司机容易忘记,而继电器开启时间固定,冬天天气寒冷,喷洒的水会流到地面,容易结冰,会造成行车安全隐患,鉴于此,我们提出一种货车车轮自动降温装置。
发明内容
本发明的目的在于提供一种货车车轮自动降温装置,以解决上述背景技术中提出的问题:现有的对刹车片降温多采用继电器控制喷洒水或者司机手动喷洒水进行降温,手动降温司机容易忘记,而继电器开启时间固定,冬天天气寒冷,喷洒的水会流到地面,容易结冰,会造成行车安全隐患的问题。
为实现上述目的,本发明提供如下技术方案:
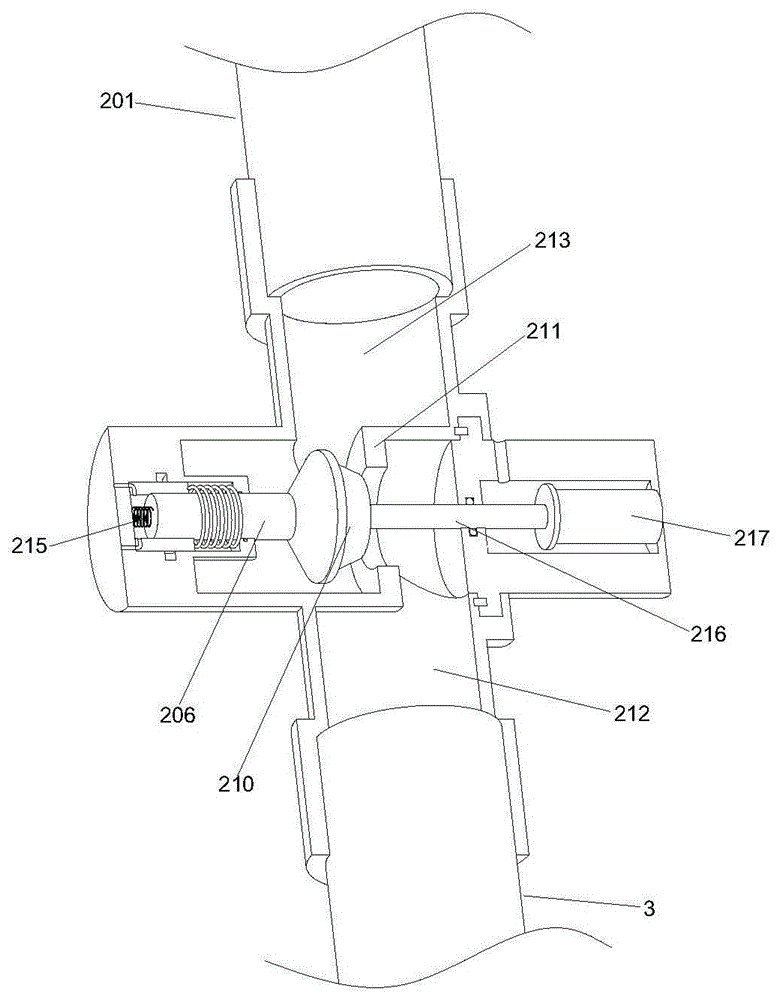
一种货车车轮自动降温装置,包括制动卡钳,所述制动卡钳两侧均设置有喷洒机构,两侧的所述喷洒机构通过连接管连接,所述喷洒机构包括喷洒头组件,所述喷洒头组件上连接有控制组件。
优选地,所述控制组件包括连接壳体,所述连接壳体一端与所述喷洒头组件的进水口连接,另一端与所述连接管连接;
所述连接壳体内部开设有流通腔,所述连接壳体一侧设置有壳体A,所述连接壳体另一侧设置有壳体B,所述壳体A内设置有密封杆,所述密封杆与所述流通腔密封接触,所述壳体B内设置有推杆,所述推杆与所述密封杆连接。
优选地,所述连接壳体两端均设置有安装部,两个所述安装部分别与喷洒头组件的进水口和连接管端部连接。
优选地,所述推杆由包括移动柱部和伸缩柱部,所述移动柱部和伸缩柱部连接,所述伸缩柱部由尼绒材料制成
优选地,所述壳体B内开设有安装腔,所述移动柱部穿过所述壳体B延伸至所述安装腔内,所述移动柱部与所述壳体B滑动配合,所述伸缩柱部位于所述安装腔内。
优选地,所述壳体A内设置有限位体A,所述密封杆延伸至所述限位体A内部,所述密封杆与所述限位体A滑动配合,所述密封杆端部连接有挤压弹簧,所述挤压弹簧与限位体A内壁连接,所述壳体A位于所述密封杆端部一侧开设有透气孔;
所述密封杆端部设置有活塞体,所述活塞体为圆锥形结构,所述流通腔内沿所述密封杆的轴线方向设置有圆环,所述流通腔包括腔体A和腔体B,所述圆环靠近腔体A一侧的二分之一圆周面与所述壳体A内壁连接,所述圆环靠近腔体B一侧的二分之一圆周面与所述壳体B连接,所述活塞体与所述圆环的内环接触。
优选地,所述壳体B与所述移动柱部之间设置有密封圈A,所述壳体B一侧开设有气孔。
优选地,所述密封杆与所述限位体A之间设置有密封圈B,所述限位体A内侧开设有安装槽,所述安装槽内设置有套筒,所述套筒一侧连接有挤压簧,所述套筒上开设有与所述透气孔连通的孔。
优选地,还包括连接管固定件,所述连接管固定件设置于所述制动卡钳上,所述连接管固定件用于固定所述连接管;
优选地,所述连接管固定件包括固定块,所述固定块上开设有导向槽,所述导向槽两侧设置有凹槽,位于一侧的所述凹槽内设置有弹簧伸缩杆,位于另一侧的所述凹槽内贯穿设置有调节螺丝,所述调节螺丝与所述弹簧伸缩杆内侧端部均设置有限位体B,所述限位体B为圆弧状结构,所述限位体B与调节螺丝转动连接,所述弹簧伸缩杆与所述限位体B固定连接。
相比于现有技术,本发明的有益效果在于:
(1)本发明通过设置尼绒材料制成的伸缩柱部,由于尼绒是热膨胀胀系数很大的材料,所以在刹车片温度升高时,伸缩柱部的体积会增大,从而推动移动柱部沿其轴线方向朝向密封杆一侧移动,使密封杆与流通腔中圆环的内壁分离,从而使水流从腔体A流向腔体B,进入喷洒头组件,通过喷洒头组件开始对刹车片进行喷水降温,当刹车片温度降低之后伸缩柱部的温度也会降低,从而体积变小,同时在挤压弹簧的恢复弹力作用下使密封杆及活塞体与圆环接触,使腔体A和腔体B不流通,刹车片降温结束,在冬天的时候,由于气温较低,伸缩柱部不会伸长,可利用外界温度使刹车片的温度降低,所以喷洒头组件不会工作,从而避免冬天水流到地面使地面结冰,避免安全隐患的发生。
(2)本发明通过设置连接管固定件用于将连接管固定在制动卡钳上,将调节螺丝向外侧移动,将连接管放置在两个限位体B之间,并使连接管位于导向槽中,然后利用调节螺丝将连接管固定在两个限位体之间。





