欢迎关注四得利(北京)科技产业有限公司官网
专利转让
购买专利
返回顶部
13829268608
微信二维码
科技成果
—13829268608—
您现在的位置 : 首页 > 科技成果 > 科技成果
发布时间:2023-02-13 11:01:36 浏览次数:1167次
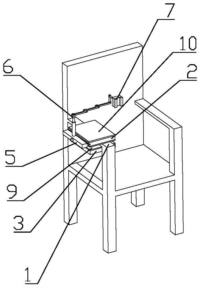
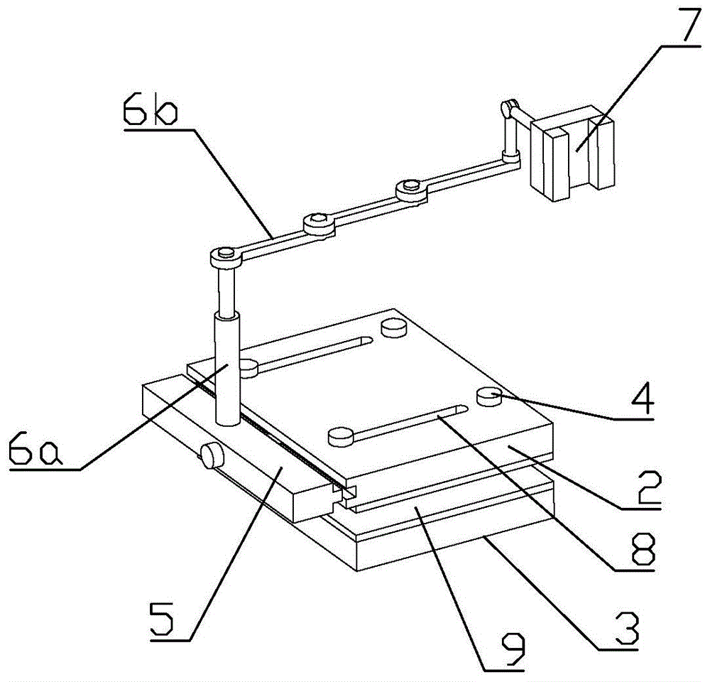
名称:一种座椅手机支架专利号:202122704168.9专利人: 韩海鹏技术领域本实用新型属于手机支架的技术领域,涉及一种座椅手机支架。背景技术随着人们物质生活的提高,玩平板电脑、手机等成为追赶时髦的一种生活方式。平板电脑、手机等非常便于携带,但唯一的缺点就是没有固定的支点,也是造成许多人患上颈椎病的原因之一。针对这一问题,一些公司生产出的手机支架解决了不同型号、不同牌子的平板电脑、手机支撑使用时固定的问题。现有的手机支架一般包括可张合的夹持部、万向支杆和弹性夹板,使用时夹持在桌面的边缘处。由于座椅扶手一般具有弧度,而且过于狭窄,现有手机支架夹持在座椅扶手时很难夹持牢固,无法正常使用。现有市场上用于座椅的手机支架,通常都需要使用拓展配件,拓展配件一般安装在座椅下面,而且屏幕位置调节不灵活,比较占位置,收纳不方便。实用新型内容本实用新型针对现有技术的不足,提供了一种座椅手机支架,可以稳固的夹持在座椅扶手上,满足人们在座椅上使用手机支架的需求。为解决上述技术问题,本实用新型的目的通过下述技术方案得以实现:一种座椅手机支架,包括夹持座椅扶手的第一固定板和第二固定板,所述第一固定板与第二固定板平行间隔设置,第一固定板和第二固定板通过若干紧固件固定,所述紧固件分为两组,分别位于座椅扶手的两侧,所述第一固定板或第二固定板的外侧连接有手机支架座,所手机支架座上连接有可弯折的手机支杆,所述手机支杆的末端连接有夹紧手机的弹性夹板。在上述的一种座椅手机支架中,所述紧固件包括螺接固定的紧固螺栓和紧固螺母。在上述的一种座椅手机支架中,所述第一固定板和第二固定板夹持在上侧的座椅扶手上,第一固定板与第二固定板水平设置。或者,在上述的一种座椅手机支架中,所述第一固定板和第二固定板夹持在座椅前侧,第一固定板与第二固定板竖直设置。在上述的一种座椅手机支架中,所述第一固定板与第二固定板上设置有若干垂直于座椅扶手的滑槽,外侧的紧固件滑设在滑槽中,所述第一固定板上的滑槽、第二固定板上的滑槽、紧固件一一对应设置。在上述的一种座椅手机支架中,所述第一固定板、第二固定板与座椅扶手的连接面上设置有缓冲胶层,优选的,所述缓冲胶层分别覆盖整个第一固定板和第二固定板。在上述的一种座椅手机支架中,所述第一固定板上设置有遮盖紧固件与滑槽的盖板。当手机支架夹持上侧座椅扶手时,第一固定板是指上侧的固定板,当手机支架夹持前侧座椅扶手时,第一固定板是指前侧的固定板。优选的,所述盖板可拆卸的扣合在第一固定板上,优选的,所述盖板与第一固定板具有相同的外部轮廓。在上述的一种座椅手机支架中,所述手机支杆包括竖直设置在手机支架座上的立杆和铰接在立杆顶端的连杆组件,所述连杆组件包括若干水平连杆和竖直连杆,弹性夹板连接在连杆组件的末端。所述手机支杆也可以使用万向支杆。在上述的一种座椅手机支架中,所述立杆为可伸缩的立杆。本实用新型和现有技术相比,具有如下有益效果:本实用新型通过第一固定板和第二固定板与座椅扶手紧固连接,实现了在座椅上稳定使用手机支架的目的,极大的方便了人们在座椅上使用手机、平板等观看视频或进行其他互动、学习和娱乐。进一步的,本实用新型还设计了多种调节结构,使手机支架具有更好的适配性。
名称:一种座椅手机支架
专利号:202122704168.9
专利人: 韩海鹏
技术领域本实用新型属于手机支架的技术领域,涉及一种座椅手机支架。背景技术随着人们物质生活的提高,玩平板电脑、手机等成为追赶时髦的一种生活方式。平板电脑、手机等非常便于携带,但唯一的缺点就是没有固定的支点,也是造成许多人患上颈椎病的原因之一。针对这一问题,一些公司生产出的手机支架解决了不同型号、不同牌子的平板电脑、手机支撑使用时固定的问题。现有的手机支架一般包括可张合的夹持部、万向支杆和弹性夹板,使用时夹持在桌面的边缘处。由于座椅扶手一般具有弧度,而且过于狭窄,现有手机支架夹持在座椅扶手时很难夹持牢固,无法正常使用。现有市场上用于座椅的手机支架,通常都需要使用拓展配件,拓展配件一般安装在座椅下面,而且屏幕位置调节不灵活,比较占位置,收纳不方便。实用新型内容本实用新型针对现有技术的不足,提供了一种座椅手机支架,可以稳固的夹持在座椅扶手上,满足人们在座椅上使用手机支架的需求。为解决上述技术问题,本实用新型的目的通过下述技术方案得以实现:一种座椅手机支架,包括夹持座椅扶手的第一固定板和第二固定板,所述第一固定板与第二固定板平行间隔设置,第一固定板和第二固定板通过若干紧固件固定,所述紧固件分为两组,分别位于座椅扶手的两侧,所述第一固定板或第二固定板的外侧连接有手机支架座,所手机支架座上连接有可弯折的手机支杆,所述手机支杆的末端连接有夹紧手机的弹性夹板。在上述的一种座椅手机支架中,所述紧固件包括螺接固定的紧固螺栓和紧固螺母。在上述的一种座椅手机支架中,所述第一固定板和第二固定板夹持在上侧的座椅扶手上,第一固定板与第二固定板水平设置。或者,在上述的一种座椅手机支架中,所述第一固定板和第二固定板夹持在座椅前侧,第一固定板与第二固定板竖直设置。在上述的一种座椅手机支架中,所述第一固定板与第二固定板上设置有若干垂直于座椅扶手的滑槽,外侧的紧固件滑设在滑槽中,所述第一固定板上的滑槽、第二固定板上的滑槽、紧固件一一对应设置。在上述的一种座椅手机支架中,所述第一固定板、第二固定板与座椅扶手的连接面上设置有缓冲胶层,优选的,所述缓冲胶层分别覆盖整个第一固定板和第二固定板。在上述的一种座椅手机支架中,所述第一固定板上设置有遮盖紧固件与滑槽的盖板。当手机支架夹持上侧座椅扶手时,第一固定板是指上侧的固定板,当手机支架夹持前侧座椅扶手时,第一固定板是指前侧的固定板。优选的,所述盖板可拆卸的扣合在第一固定板上,优选的,所述盖板与第一固定板具有相同的外部轮廓。在上述的一种座椅手机支架中,所述手机支杆包括竖直设置在手机支架座上的立杆和铰接在立杆顶端的连杆组件,所述连杆组件包括若干水平连杆和竖直连杆,弹性夹板连接在连杆组件的末端。所述手机支杆也可以使用万向支杆。在上述的一种座椅手机支架中,所述立杆为可伸缩的立杆。本实用新型和现有技术相比,具有如下有益效果:本实用新型通过第一固定板和第二固定板与座椅扶手紧固连接,实现了在座椅上稳定使用手机支架的目的,极大的方便了人们在座椅上使用手机、平板等观看视频或进行其他互动、学习和娱乐。进一步的,本实用新型还设计了多种调节结构,使手机支架具有更好的适配性。
上一条:肉皮花卷、 肉皮花串、肉皮花丝
下一条:一种便于拆卸的轮滑鞋