欢迎关注四得利(北京)科技产业有限公司官网

科技成果

Service

13829268608

立即咨询

一种便于拆卸的轮滑鞋

发布时间:2023-02-13 11:13:08 浏览次数:1126次

名称:一种便于拆卸的轮滑鞋

专利人; 张辅

专利号:202221004486.2

技术领域

本实用新型属于轮滑鞋设备技术领域,涉及一种便于拆卸的轮滑鞋。

背景技术

目前市场上的轮滑鞋的鞋体与轮子大多为一体式结构或采用螺丝固定,不能实现一鞋多用,在使用结束后需要更换普通鞋,此外现有溜冰鞋的体积较大,占用空间比较大,不方便携带。目前市面上虽有一些可将滑轮拆卸的轮滑鞋,但其拆卸方式较为复杂,有的还需使用工具,其使用过程较为不便。

实用新型内容

本实用新型的目的在于针对现有技术中存在轮滑鞋鞋体与滑轮拆卸方式较为复杂,不便于行进拆卸的问题,提供一种滑轮可快速拆卸的便于拆卸的轮滑鞋。

为此,本实用新型采取如下技术方案:

一种便于拆卸的轮滑鞋,包括:

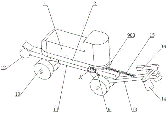
鞋体,所述鞋体的底部设有加厚层;

卡槽,所述卡槽沿加厚层长度方向设置于加厚层的下表面,卡槽的后端形成入口;

卡固板,所述卡固板位于卡槽内;

卡固件,所述卡固件位于加厚层的后侧,其用于将卡固板固定与卡槽内;

多个滑轮,所述滑轮安装于卡固板下侧。

进一步地,所述卡槽的横截面呈梯形结构,所述卡固板长度方向的两侧各设有一个折边,所述折边贴靠于卡槽的内壁。

进一步地,所述卡槽两侧沿其长度方向各设有一个卡缝,所述折边上沿其长度方向固定有卡片,所述卡片位于卡缝内。

进一步地,所述卡固板的下侧设有支架,所述滑轮安装于支架上。

进一步地,所述支架的前端固定有前刹车墩。

进一步地,所述支架的后端铰接有连杆,所述连杆的下侧设有后刹车墩,连杆的中部连接有弹簧,所述弹簧远离连杆的一端与支架相连接。

进一步地,所述连杆上侧设有用于踩踏的脚踏条。

进一步地,所述卡固件包括位于加厚层后侧的卡固孔,所述卡固孔沿加厚层宽度方向设置并穿过卡槽,卡固孔内安装有插杆,所述卡固板的后端抵靠于插杆中部,所述插杆的一端连接有皮筋、另一端设有固定凹槽,所述皮筋远离插杆的一端设有卡环,所述卡环卡固于固定凹槽内。

进一步地,所述加厚层的底部设有防滑垫。

本实用新型的有益效果在于:在鞋体底部设置卡槽,以插入的方式将安装有滑轮的卡固板,置入卡槽内,安装完成后使用插杆将卡固板固定于卡槽内,防止其在使用过程中脱出,其安装拆卸方式相较于现有方式快速便捷,拆卸后可的卡固板以及滑轮体积小巧,携带便捷;设置后刹车墩,在使用时可通过脚踩后刹车墩控制滑行速度,适用于初学者。
220428143139220428143142220428143146220428143149